HONG KONG INTERIOR HARDWARE
Kawajun Corporate Site
EN
主頁
業務
建築裝飾五金
公共設施家具
零售策劃事業
KJ柱及貨架
酒店及家具配件
目錄
關於
聯絡我們
最新動態
網上商店
EN
Kawajun Corporate Site
建築裝飾五金
主頁
關於
目錄
產品信息
展廳&辦公室
產品信息
搜尋
歷史
H177_L~2200
大門拉手 長1701-2200
KLS2
方形鎖膽面板
清除
檢查清單
清除
所有項目
新產品
大門拉手
門把手
按壓式拉手
門鎖
趟門
門配件
浴室配件
房間配件
廚房系列
抽屜櫃拉手
所有項目
返回
加入清單
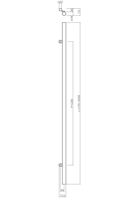
大門拉手 長1701-2200
產品代碼:
H177-140-22H2
材料
J-Wood + Stainless Steel
飾面
J-Wood Brown & Brushed
備註:
The handle comes in a pair
可用飾面:J-Wood Brown & Brushed
相關文件
下載所有相關文件
Dimension
PDF Drawing