產品信息

所有項目 返回

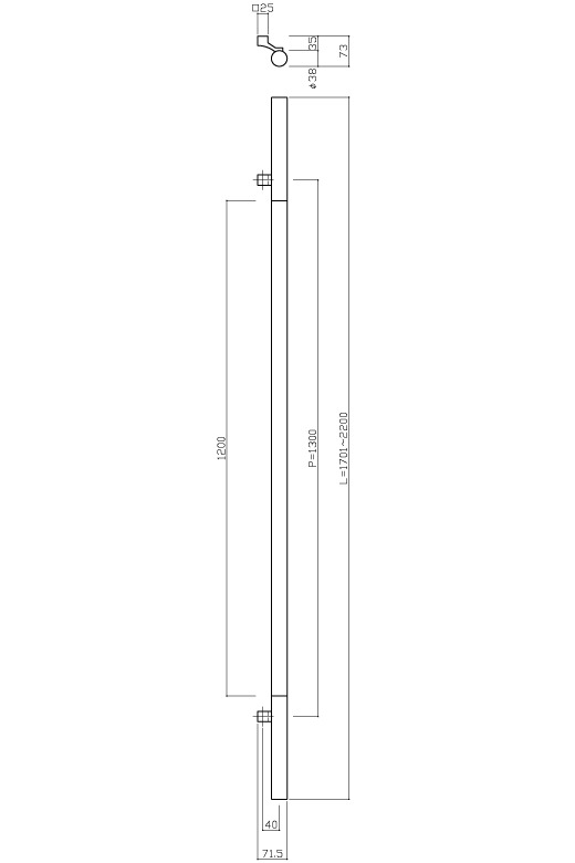
大門拉手 長1701-2200

產品代碼:H177-267-22H2

材料
鋁 & J-強化木
飾面
AL Vibration Black & J-Wood Scotch

備註:

The handle comes in a pair

可用飾面:AL Vibration Black & J-Wood Scotch

140
266
267
268
269
418